小流量高揚程不銹鋼離心泵
時間:2012/10/14 來源:浙江揚子江泵業有限公司

CHL,CHLK輕型不銹鋼離心泵又名離心式飲料泵、奶泵、不銹鋼飲料泵,適用于輸送牛奶和其它類似膠質的液體食品之用,吸取物料之高溫度為 70-80 ℃,此泵是單吸全封閉式離心泵。其中高揚程泵特別適用于管式殺菌、酸奶持溫設備、CIP清洗等阻力較大的系統中應用。離心式衛生安裝時泵的位置好低于吸入液面(如泵的安裝位置高于吸入液面,開泵前需進行罐泵)。在使用前應檢查葉輪的旋轉方向是否正確;泵進出口管接頭螺母是否旋緊;泵蓋與泵體間的密封圈是泵墊好。與物料接觸部分使用前應用蒸汽消毒,確保食品衛生。上海中球泵業是一家專業生產:不銹鋼離心泵、管道離心泵、不銹鋼自吸泵的廠家。公司管理和技術力量雄厚,不斷地開發研究和制造新一代系列離心泵,以適應各行業的需求。
CHL不銹鋼輕型離心泵特點
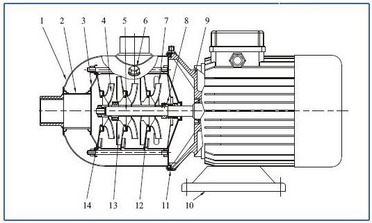
CHL,CHLK和CHLF(T)輕型不銹鋼臥式多級離心泵采用了免修機械密封。泵的過流部件均采用不銹鋼材料(304或316)制成,具有低噪音,耐輕腐蝕,外形美觀、體積小、重量輕、使用壽命長等特點。CHL,CHLK和CHLF(T)型泵主要用于家庭型中央空調循環及工業上液體的傳輸。如脫礦物質水、軟水、凈化系統、輕油等的循環和增壓。
1)小型中央空調循環
2)冷卻系統
3)工業清洗
4)水處理(水的凈化)
5)水產養殖
6)施肥/計量系統
7)環境應用 
1、采用優良的水力模型和先進的制造工藝,大大提高泵各種性能及使用壽命。
2、由于軸封采用材料為硬質合金及氟橡膠的機械密封,可提高泵運行的可靠性及輸送介質的溫度。
3、泵的過流部分采用不銹鋼板沖壓焊接而成,使得泵可適用于輕度腐蝕性介質。
4、整體結構緊湊、體積小、重量輕、噪聲低、節能效果顯著,檢修方便。
5、可根據用戶需要配備智能保護器,對泵干轉、缺相、過載等進行有效保護。
6、電機配加長軸,軸向進水與徑向出水。
 
CHL不銹鋼臥式多級離心泵工作條件 
稀薄、干凈、不凝、不爆炸、不含固體顆;蚶w維的液體。
液體溫度: 常溫型-15℃至+70℃
熱水型+70℃至+110℃
大環境溫度:+40℃
大運作壓力:10巴
大進口壓力受大運作壓力限制
介質酸堿性:PH4~9
電機
電機為全封閉,風冷式二極電機
防護等級:IP55
絕緣等級:F
標準電壓,
50Hz: 
1×220-240V
3×220-240V
380-415V
60Hz: 
1×220-240V
3×220-240V
380-415V
CHL不銹鋼臥式多級離心泵型號意義
例如:CHL2-40
揚程(m):28
流量(m3/h):2
電機功率(KW):0.55
轉速(r/min): 2900
CHL不銹鋼臥式多級離心泵性能參數
| 型號 | 揚程(m) | 流量(m3/h) | 電機功率(KW) | 轉速(r/min) | 
| CHL2-20 | 14 | 2 | 0.37 | 2900 | 
| CHL2-30 | 21 | 2 | 0.55 | 2900 | 
| CHL2-40 | 28 | 2 | 0.55 | 2900 | 
| CHL2-50 | 35 | 2 | 0.55 | 2900 | 
| CHL2-60 | 42 | 2 | 0.75 | 2900 | 
| CHL4-20 | 15 | 4 | 0.55 | 2900 | 
| CHL4-30 | 22 | 4 | 0.75 | 2900 | 
| CHL4-40 | 30 | 4 | 0.75 | 2900 | 
| CHL8-10 | 8.5 | 8 | 0.75 | 2900 | 
| CHL8-20 | 17 | 8 | 0.75 | 2900 | 
| CHL8-30 | 25.5 | 8 | 1.1 | 2900 | 
| CHL8-40 | 34 | 8 | 1.5 | 2900 | 
| CHL8-50 | 42.5 | 8 | 2.2 | 2900 | 
| CHL12-10 | 9.5 | 12 | 0.75 | 2900 | 
| CHL12-20 | 19.5 | 12 | 1.2 | 2900 | 
| CHL12-30 | 29.5 | 12 | 1.8 | 2900 | 
| CHL12-40 | 39.5 | 12 | 2.4 | 2900 | 
| CHL12-50 | 50 | 12 | 3 | 2900 | 
| CHL16-10 | 10 | 16 | 1.1 | 2900 | 
| CHL16-20 | 21 | 16 | 2.2 | 2900 | 
| CHL16-30 | 32 | 16 | 3 | 2900 | 
| CHL20-10 | 9.5 | 20 | 1.1 | 2900 | 
| CHL20-20 | 21 | 20 | 2.2 | 2900 | 
| CHL20-30 | 33 | 20 | 4 | 2900 | 
| CHLF(T)2-20 | 14 | 2 | 0.37 | 2900 | 
| CHLF(T)2-30 | 21 | 2 | 0.55 | 2900 | 
| CHLF(T)2-40 | 28 | 2 | 0.55 | 2900 | 
| CHLF(T)2-50 | 35 | 2 | 0.55 | 2900 | 
| CHLF(T)2-60 | 42 | 2 | 0.75 | 2900 | 
| CHLF(T)4-20 | 15 | 4 | 0.55 | 2900 | 
| CHLF(T)4-30 | 22 | 4 | 0.55 | 2900 | 
| CHLF(T)4-40 | 30 | 4 | 0.75 | 2900 | 
| CHLF(T)4-50 | 38 | 4 | 1.1 | 2900 | 
| CHLF(T)4-60 | 45 | 4 | 1.1 | 2900 | 
| CHLF(T)8-10 | 8.5 | 8 | 0.75 | 2900 | 
| CHLF(T)8-20 | 17 | 8 | 0.75 | 2900 | 
| CHLF(T)8-30 | 25.5 | 8 | 1.1 | 2900 | 
| CHLF(T)8-40 | 34 | 8 | 1.5 | 2900 | 
| CHLF(T)8-50 | 42.5 | 8 | 2.2 | 2900 | 
| CHLF(T)12-10 | 9.5 | 12 | 0.75 | 2900 | 
| CHLF(T)12-20 | 19.5 | 12 | 1.2 | 2900 | 
| CHLF(T)12-30 | 29.5 | 12 | 1.8 | 2900 | 
| CHLF(T)12-40 | 39.5 | 12 | 2.4 | 2900 | 
| CHLF(T)12-50 | 50 | 12 | 3 | 2900 | 
| CHLF(T)16-10 | 10 | 16 | 1.1 | 2900 | 
| CHLF(T)16-20 | 21 | 16 | 2.2 | 2900 | 
| CHLF(T)16-30 | 32 | 16 | 3 | 2900 | 
| CHLF(T)16-40 | 43 | 16 | 4 | 2900 | 
| CHLF(T)20-10 | 9.5 | 20 | 1.1 | 2900 | 
| CHLF(T)20-20 | 21 | 20 | 2.2 | 2900 | 
| CHLF(T)20-30 | 33 | 20 | 4 | 2900 | 
| CHLF(T)20-40 | 44.5 | 20 | 4.4 | 2900 | 
不銹鋼離心泵結構說明

 
 











