泵的知識 PUMP KNOWLEDGE
行業新聞
您當前位置:網站首頁 >> 泵的知識 >> 詳情內容
化工泵機械密封雜質過濾系統介紹
時間:2012/2/25 來源:浙江揚子江泵業有限公司
密封介質中往往會由于介質本身(如漿液、油漿等)含有固體顆粒、易結晶、結焦等性質,在一定工作條件下出現固體顆粒,還有一些特殊用途化工泵的密封(如塔底泵、釜底泵的密封)在系統中有殘渣、鐵銹、污垢,甚至于安裝時有殘留雜物,都會給機械密封帶來較大的危害。除去固體顆粒等雜質是機械密封系統的一種基本功能,可采用過濾器或旋液分離器來除去系統中的雜質。
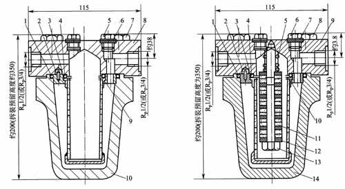
①過濾器 我國機械行業標準JB/T 6632-1993《離心泵機械密封系統用過濾器》規定的機械密封系統用過濾器分為兩種形式:GL型為濾網過濾(見圖5-88);GC型為磁環加濾網過濾(見圖5-89)。承壓方向為單向和雙向兩種。基本參數為:額定壓力1.6 MPa、6.3 MPa;額定溫度150℃;過濾精度50μm、100μm;接口尺寸Rp 1/2、Rp 3/4。
濾網過濾器結構簡單,通常在沖洗或循環管中串聯使用。含固體雜質的密封介質由一端進入,通過濾網從另一端流出,雜質留在過濾網內,定時取出濾網清除雜質可重復使用。
磁性過濾器由永久磁鐵和濾網與其他元件組成。過濾網孔為25~100/zm,以減少過濾器的阻力,其流量為1~4 m3/h,通常成雙并聯安裝在管路上,以便于交替切換使用。
圖5-88 GL型過濾器結構 圖5-89 GC型過濾器結構
1,4-0形密封圈;2-圓柱銷;3-過濾器網; 1,4-0形耷封圈;2-圓柱銷;3-過
5-排氣螺栓;6-密封墊;7-螺釘;8-過濾器蓋; 器網;5-彈簧;
9-中間環;10-過濾器體 6-排氣螺栓;7-密封墊;8,1 3-螺釘;9-過濾器蓋;
10-中間環;11一磁環;12-墊;14-過濾器體
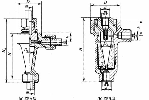
②旋液分離器 旋液分離器(簡稱旋液器)是利用離心沉降原理來分離固體顆粒(顆粒密度大于化工泵密封流體的密度)的器件,其分離精度可達微米級。我國機械行業標準JB/T6633-1993《機械密封系統用旋液器》規定的機械密封系統用旋液器分為ZSA型與ZSB型兩種形式(見圖5-90),其工作參數為:壓力范圍0.4~6.3MPa;工作溫度為-20~200℃;工作流量2~8 L/min;工作介質為含固相顆粒的液體。
密封旋液器的安裝尺寸應符合表5-45的規定。
表5-45 旋液器的安裝尺寸 /mm
|
型號 |
D |
Do |
H |
Ho |
d |
h |
m |
|
ZSA |
64 |
30 |
152 |
205 |
|
34 |
G1/2
φ22×σ |
|
ZSB |
80 |
30 |
190 |
|
2 7 |
47 |

注:φ管子外徑;σ管子壁厚。
圖5-90密封旋液分離器
- 下一篇:單螺桿泵結構形式特征
- 上一篇:化工泵機封傳動座常見故障
相關產品











